天津四季餐饮 | 门店拜访数据、出勤数据等高效汇总
由于门店分布全国各地,经营管理的难度相对较高,正是此时,企微的出现,让我们的餐饮企业如沐春光。” —— 天津四季餐饮管理有限公司 案例背景 天津四季餐饮管理有限公司主营异国餐饮,为万达广场长期战略

“由于门店分布全国各地,经营管理的难度相对较高,正是此时,企微的出现,让我们的餐饮企业如沐春光。”
—— 天津四季餐饮管理有限公司
案例背景
天津四季餐饮管理有限公司主营异国餐饮,为万达广场长期战略合作伙伴,旗下品牌“佛洛里斯果木牛扒”,“佛洛里斯东南亚菜”,“四季创意铁板烧”,“Phil’s Kitchen创意融合菜”。餐厅分布北京、天津、成都、珠海等全国一、二线城市。
我们是第一批企微的用户,在初期,使用企微的超级表单、会议助手、移动审批等应用,运营线管理层只需要通过手机微信端就可以完成日常的一些工作,工作效率有不错的提升。随着时间的推移,企微的各项功能在不断的提升和完善,把运营线和后勤部门间的工作有序的并联起来,让各项工作能第一时间得到处理和知悉,不得不说,让更多的管理者即得到结果,又了解过程,消除了日常管理工作中的误解,多了一份信任。
应用场景
一、超级表单:门店拜访数据高效汇总
使用企微之前,只能通过单纯的短信汇报销售数据,存在字数限制,关键数据缺乏,单文字表现空洞,领导询问意见只能一对一,无法抄送多级管理者等问题。 企微让我们可以使用详细的数据统计,图文并茂地汇报,并@多级管理者进行沟通询问。一个表单分分钟变成临时“会议室”和”战略研究所”,特别是在思路清晰的深夜,往往有更多的意外收获。
场景展示:


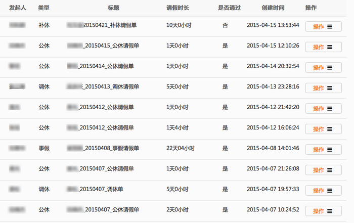
二、请假出差:终于不用追着老板签字啦
使用企微之前,我们和大多数企业一样,请假都要找老板签字,经常遇到老板在开会或者老板出差的尴尬状况。使用企微以后,再也不需要一趟趟往老板办公室跑了,发起请假申请即可坐等审批。无论是员工还是老板,都方便了很多。
场景展示:

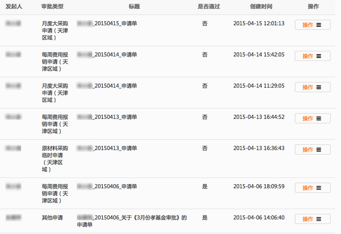
三、移动审批:物资申请采购更方便
使用企微之前我们采用传统纸质申请单供员工进行各种申请,存在过程繁琐,容易仿造和责任难以区分的问题。现在使用了“移动审批”之后,相关申请人只需要填写相应表单,提交之后相关负责人可以直接接受到申请信息,每一步都有记录,责任也是一目了然。
场景展示:

应用价值小结
“超级表单”帮天津四季餐饮管理有限公司解决了很多工作汇报方面的问题,使工作汇报省时又省力。移动审批应用的启用,使员工可以随时随地填写申请,尤其是在物资采购方面节约了大量人力物力。“出差请假”不仅方便了员工还使老板的审批变得方便。感谢企微帮助四季餐饮走上了手机办公的时代。

扫二维码与项目经理沟通
我们在微信上24小时期待你的声音
解答本文疑问/技术咨询/运营咨询/技术建议/互联网交流